随着 5G 通信向高速率、低时延演进,6G 技术研发加速推进,毫米波频段凭借其超大带宽和高频谱利用率的优势,已成为下一代移动通信的核心赛道。然而,终端设备“全面屏 + 轻薄化”的设计趋势,正将天线的可用空间压缩到极致——如何在极其有限的小尺寸内实现宽带、双极化、高隔离度的天线性能,成为摆在行业面前的一道亟待破解的难题。
近日,北京小米移动软件有限公司公开了一项名为“天线单元、天线阵列及电子设备”的发明专利(申请号:202410939033.6),为解决上述难题提供了一个颇具前景的解决方案。这项专利针对毫米波通信场景,设计了一种结构紧凑、性能优异的创新天线方案,为未来 5G 乃至 6G 终端的天线设计打开了全新思路。

核心设计:拆解毫米波天线的“精妙结构”
这款专利的核心是一款多层集成的双极化天线单元,基于此单元可扩展为天线阵列,最终集成于各类电子设备中。下面我们结合专利附图,逐步解析其设计逻辑。
1. 天线单元的“四大核心组件”
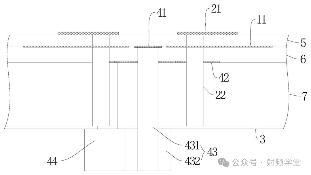
天线单元(标记为100)主要由辐射组件(1)、寄生组件(2)、接地层(3)和馈电组件(4)构成,并通过三层介质层实现立体堆叠集成(图1为立体结构,图2为剖视图)。

图1:天线单元立体结构

图2:天线单元剖面结构
- 辐射组件:其核心是 4 个椭圆形辐射贴片(11),它们呈环形相隔 90 度阵列布置,每个贴片的长轴延长线都穿过环形圆心(图3)。这种精妙的布局是实现双极化的关键:四个贴片两两一组,分别激励出 X 方向和 Y 方向的极化信号。

图3:辐射贴片环形布局
- 寄生组件:包括 4 个椭圆形寄生贴片(21)和接地通孔(22)。每个寄生贴片正对一个辐射贴片,并位于其上方。设计的巧妙之处在于,每个寄生贴片通过辐射贴片上开设的“寄生孔隙(111)”,经由接地通孔连接到下方的接地层(图4)。

图4:寄生组件与辐射贴片连接关系
2. 三层介质层的“堆叠艺术”
为实现高度紧凑的集成,天线单元采用了第一介质层(5)、第二介质层(6)、第三介质层(7)依次层叠的三明治结构(图2):
- 寄生贴片位于第一介质层顶部;
- 辐射贴片和第一馈电贴片夹在第一与第二介质层之间;
- 第二馈电贴片夹在第二与第三介质层之间;
- 接地层位于第三介质层底部。
三层介质层的厚度满足 D1 < D2 < D3。这种梯度厚度的堆叠设计不仅保证了各组件的绝缘隔离,还能通过选用特定介质材料(如第三介质层可采用 Rogers 4350 这类低损耗射频板材)来优化性能,降低信号传输损耗。
3. 关键尺寸比例:性能的“黄金法则”
专利中明确指出了三个核心尺寸比例关系,它们是保证天线达到预期性能的关键:
- 辐射贴片面积 S1 与寄生贴片面积 S2 之比约为 2~4(优选值为 3);
- 寄生贴片面积 S2 与寄生孔隙面积 S3 之比约为 2~4(优选值为 2.9);
- 相邻辐射贴片外侧边缘的公切线长度控制在 3~4mm(优选值为 3.3mm)。
此外,寄生贴片的中心位于辐射贴片中心与环形圆心之间,而接地通孔的中心又位于寄生孔隙中心与环形圆心之间(图5)。这种“向内偏移”的布局设计,能在不增加整体尺寸的前提下,最大化利用寄生效应来拓展天线性能。

图5:关键组件的位置偏移关系
创新亮点:打破“小尺寸”与“高性能”的矛盾
这款天线专利的核心创新,在于通过“结构优化 + 寄生效应”的协同设计,在体积几乎不变的情况下,一举实现了宽带、双极化、高隔离度等多重性能突破。
1. 寄生结构“三位一体”:小型化与宽带兼得
传统的毫米波天线若要扩展带宽,往往需要增大辐射体尺寸。而小米的这一设计通过 “辐射贴片 + 寄生贴片 + 寄生孔隙” 三位一体的耦合结构,巧妙地解决了这一矛盾。寄生贴片通过孔隙接地,形成了额外的谐振路径,相当于在同一物理空间内集成了“主辐射”与“寄生辐射”双重结构。这种设计无需增加天线的平面面积,就能有效拓展阻抗带宽。仿真结果显示,该天线单元可实现约 55% 的极化工作带宽(覆盖 24.3-42.7GHz),完美覆盖主流的毫米波通信频段。

图9:天线单元S参数(阻抗匹配与隔离度)

图10:天线单元增益与辐射效率
2. 双极化设计:高隔离度 + 低交叉极化
四个辐射贴片呈 90 度环形对称布置,配合正交放置的两个馈电贴片,使天线单元天然具备了 X 和 Y 双极化工作能力。两个极化通道之间的隔离度大于 20dB,能有效避免极化间的信号干扰;同时,交叉极化水平低于 -25dB,保证了信号的高纯度。这一特性使其特别适合应用于对信号质量要求极高的 MIMO(多输入多输出)通信系统。
3. 阵列扩展:以小尺寸实现高增益
基于高性能的单个天线单元,专利还设计了可灵活扩展的天线阵列(200),例如图6和图7所示的 1×4 线性阵列。

图6:1×4天线阵列立体图

图7:1×4天线阵列端口布置
该阵列的物理尺寸极为紧凑,仅为 6mm × 19.5mm × 1.1mm。通过阵列合成,其峰值增益可达到 13dBi,远高于单个单元的 7.3dBi。同时,仿真数据表明阵列内单元间的耦合度低于 -12dB,端口隔离度低于 -15dB(图16),确保了多单元协同工作时性能的稳定性。

图16:天线阵列端口隔离度(S参数)
4. 易加工与低成本:适配量产需求
整个天线采用成熟的多层 PCB(印刷电路板)集成工艺实现,所有辐射贴片、寄生贴片及孔隙均为规则的椭圆形,无需复杂的立体化或异形结构。这避免了对精密机械加工的依赖,大幅降低了生产难度和成本。介质层可选用TLY-5、Rogers系列等市场成熟的射频板材,在保证优异射频性能的同时,兼顾了成本控制,非常适合消费电子终端的大规模量产。
性能验证:仿真数据见证硬实力
专利文档中提供了详尽的电磁仿真测试数据,充分验证了该天线设计的优越性能:
- S 参数(阻抗匹配):如图9所示,天线单元在整个目标毫米波频段内,其输入反射系数(S11)和输出反射系数(S22)均低于 -10dB,表明信号输入/输出匹配良好,反射损耗极低。
- 增益与辐射效率:如图10所示,天线在 X 和 Y 双极化方向上的增益均高于 5dBi,辐射效率高于 90%(0.9),峰值增益可达 7.3dBi。
- 辐射方向图:在 26GHz、28GHz、38GHz、40GHz 等多个关键频点上,天线的三维辐射方向图表现稳定、一致,未出现明显的畸变或裂瓣(图11-14),说明了其良好的方向性。

图11:26GHz频点辐射方向图

图12:28GHz频点辐射方向图

图13:38GHz频点辐射方向图

图14:40GHz频点辐射方向图
- 阵列性能:1×4 天线阵列的仿真结果(图15)显示,其 X 和 Y 极化增益均在 10dBi 以上,所有端口的回波损耗均低于 -10dB,能够很好地满足终端设备对远距离、高速度通信的需求。

图15:天线阵列各端口回波损耗(S参数)
应用场景:覆盖全品类 5G/6G 终端
这款高集成度、高性能的天线方案拥有广泛的应用前景。专利明确指出,它可适用于:
- 智能手机、平板电脑、笔记本电脑等移动计算终端;
- 智能手表、手环、AR/VR眼镜及头盔等可穿戴设备;
- 车载通信模块、智能驾驶传感器、5G/6G 微基站等设备。
尤其对于追求极致轻薄设计的智能手机而言,该天线方案小尺寸、宽频带、高隔离度的特性,使其能够完美适配“全面屏”的工业设计,同时为 5G 毫米波带来的数千兆比特高速下载体验,以及未来 6G 可能具备的通信-感知一体化等新功能,提供坚实的硬件基础。
总结与展望
小米此项天线专利虽然看似是单个射频组件的创新,实则体现了其在 5G/6G 终端核心硬件技术上的持续深耕。通过精巧的结构设计,有效破解了 “小尺寸 - 宽带 - 双极化 - 高增益” 这一系列传统矛盾,为下一代通信终端的天线设计提供了一个具备高度可落地性的参考方案。
随着毫米波通信技术从实验室走向规模商用,终端天线的性能将直接决定最终用户的体验上限。此类专利技术的逐步落地与应用,有望让未来的手机、可穿戴等设备在继续保持时尚轻薄外观的同时,获得更快的通信速率、更稳定的连接质量和更丰富的功能,从而为 5G-Advanced 的深化和 6G 技术的未来普及铺平道路。
注:本文解读基于已公开的专利文件,相关技术图示仅用于学习交流。更多前沿技术解析与深度讨论,欢迎访问云栈社区与广大开发者交流。
