对于产品经理来说,无论是与研发沟通需求,还是进行跨系统对接,“接口”都是一个绕不开的话题。特别是对于B端或后台产品经理,理解接口文档不仅能让需求沟通更顺畅,更是深入理解业务逻辑的重要途径。那么,当你面对一份满是技术参数的接口文档时,该如何下手呢?
一、什么是接口文档?
让我们用一个生活中的例子来理解。家里的电源插座就是一个“接口”,它定义了标准:插孔的形状(两孔或三孔)、提供的电压(220V)和频率(50Hz)。任何想获取电力的设备,都必须通过满足这些条件的插头来对接。
在软件世界,接口文档扮演着类似的角色。它是一套定义好的规范文档,规定了不同系统之间如何进行数据交换和功能调用。有了这份“说明书”,A系统才能准确地告诉B系统“我需要什么”,以及B系统应该如何回应。
二、产品经理为什么需要了解接口文档?
你可能会问,我又不写代码,为什么需要懂这个?掌握接口文档知识,至少能为你带来三大好处:
- 快速理解陌生业务:面对机票、酒店等新领域,直接阅读其核心接口文档,是理解“航班号”、“舱位”、“城市编码”等业务实体及其关联关系的最快方式之一。
- 高效处理系统对接:无论是公司内部的前后端分离,还是与外部合作伙伴的系统集成,其核心工作就是定义和调用接口。懂接口文档,能让你在对接项目中把握关键,避免沟通偏差。
- 丰富需求表达维度:接口提供了一种简洁、结构化的交互描述方式。在需求评审或与开发讨论时,能使用接口思维来描述功能点,会让你的表达更精准,也更易获得技术同学的认同。
三、三步法,带你看懂接口文档
面对一份动辄几十页的文档,别慌。遵循“由总到分,由面到点”的阅读策略,可以事半功倍。
第一步:通读概览,掌握全局流程与规则
一份规范的接口文档,通常会在开头提供“开发者指南”或“接入指南”。这部分内容至关重要,它会阐明:
- 基本概念:文档中涉及的术语定义。
- 对接前置条件:如何申请密钥(AppKey/Secret)、获取访问令牌(Access Token)等。
- 通用规则:请求频率限制、数据加密方式、签名算法等。
- 全局注意事项:版本更新策略、通用错误处理逻辑等。
例如,下图展示了美团开放平台OAuth授权的标准流程,这正是对接前必须理解的“游戏规则”:

第二步:结合业务场景,梳理接口调用链路
不要漫无目的地阅读文档。你应该带着明确的目标:“我的系统要实现XX功能,需要调用哪些接口?顺序是怎样的?”
这时,你需要将业务流程图转化为接口调用流程图。例如,假设你负责一个酒店销售平台,需要对接飞猪的酒店资源。你拿到的可能是一长串接口列表,但通过业务分析,可以整理出清晰的调用链路:

这个过程能帮你明确每个接口在业务中的角色,提前发现可能存在的参数缺失或逻辑矛盾,确保后续开发的准确性。
第三步:深入单个API,关注核心业务参数
理清链路后,就需要逐个攻克具体的API文档。一个标准的接口说明通常包含以下几部分,作为产品经理,你的关注点应有侧重:
- 请求地址(URL):开发同学关心的技术细节,指明接口服务的位置。
- 请求参数 & 响应参数:这是你需要重点关注的部分。
- 请求参数:好比你去商店买东西时说:“我要一支红色2B铅笔”。它告诉接口提供方你的具体需求。参数通常分“公共参数”(如签名、授权信息)和“业务参数”。你需要仔细审视每一个业务参数,理解其含义、是否必填、取值规则,这直接决定了你能否正确调用接口。
- 响应参数:好比店员递给你的那支铅笔。它定义了接口能返回什么数据。仔细阅读响应参数,就是在明确你能从对方系统里“拿到”什么业务信息,这界定了你的产品功能边界。
以下图为例,调用“城市数据获取”接口后,响应中包含了城市列表、版本号、层级等信息。这立刻能引发产品思考:我们是否需要本地存储这些城市数据?如何依据version(版本号)来判断数据是否需要更新?

- 请求示例:帮助开发理解如何组装请求,产品经理可略读。
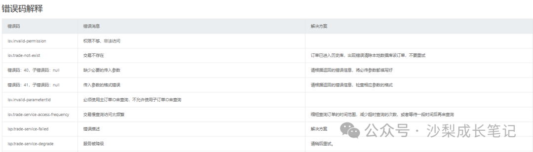
- 错误码解释:必须仔细阅读。错误码不仅告诉你调用失败的原因,更隐藏着重要的业务约束和边界条件。例如,“交易不存在”可能意味着只能查询一定时间内的订单;“权限不足”则可能指向敏感的资费或数据范围。

此外,接口的请求方法(GET, POST, PUT, DELETE)也直观体现了它的业务能力:是查询数据,还是创建、修改或删除数据。理解这一点,能帮助你从更高维度把握接口的用途。
总结
读懂接口文档,本质上是将技术语言翻译为业务语言的能力。它不需要你精通代码,但要求你具备结构化的思维和对业务逻辑的洞察。从全局流程到单个参数,每一步的深入理解,都能让你在产品经理的角色中更加游刃有余,更好地驾驭系统间的复杂协作。如果你在阅读其他技术文档时遇到困惑,也可以到云栈社区与更多同行交流心得。
|